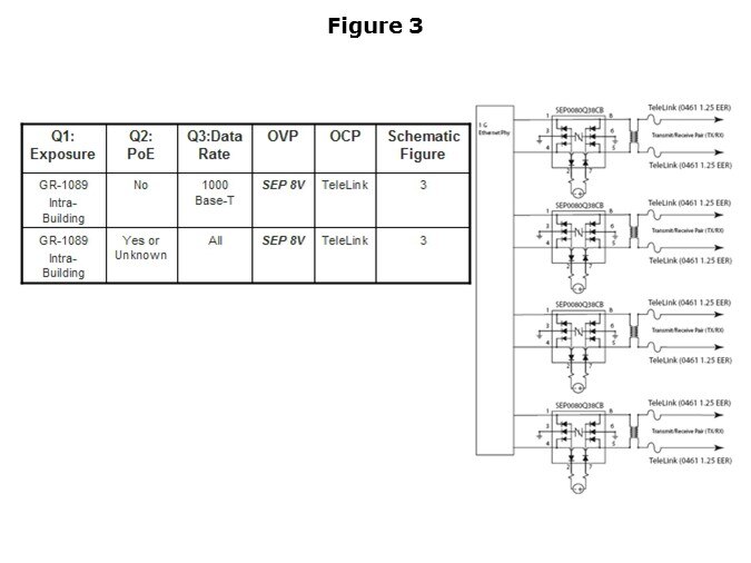
The solution presented here is for a couple combinations of answers to the three critical questions. First it shows the Gigabit Ethernet solution for non PoE inter-building exposure requirement. In this case, the solution uses the 8V SEP protector on the lower speed interfaces without PoE. The primary reason for this choice is that the Littelfuse SP03 devices have been shown to interfere with Gigabit Ethernet signals at temperatures well above normal room temperatures. The SEP device does not have these temperature issues and is a great choice for Gigabit systems. A 5V supply is used to bias the SEP device through a pair of 1MOhm resistors. This same figure is also the recommended solution for inter-building systems that do use PoE or where a PoE system may be inadvertently connected. This solution applies to all data rates. The fuse is the same and will be required in some applications where power cross testing will be performed. Two fuses per dataport are shown because line balance must be maintained for good data transmission. Furthermore, if the PoE supply is ground referenced, all lines must be fused to maintain fire hazard protection.

